Motonline

Cerca

Seguici con

ADV
Da Sapere

Turbo per moto: KTM risponde a Honda con il compressore "ibrido"

Luca Bedin aggiornato il 17/09/2025 in Da Sapere
SFOGLIA LA GALLERY

La Casa austriaca sta lavorando ad un sistema che utilizza una turbina assistita da un sistema elettrico, a metà strada tra quello utilizzato da Kawasaki sulla H2 e quello 100% elettrico del motore Honda V3

Nonostante i recenti problemi societari, il reparto R&D di KTM non è rimasto con le mani in mano e sta portando avanti numerosi progetti innovativi. Tra questi quello, per cui è stata recentemente depositata una domanda di brevetto, relativo a un “hybrid electric supercharger”, ovvero un compressore che può essere azionato sia meccanicamente (dall’albero motore/turbina) sia da un motore elettrico, con l’obiettivo di combinare efficienza e prontezza di risposta (boost a bassi regimi).

La sovralimentazione può aumentare l'efficienza del motore, migliorando le prestazioni e/o riducendo le emissioni, ed è considerata da più parti un alleato naturale per raggiungere gli sfidanti obiettivi delle prossime normative Euro. I problemi da risolvere non sono comunque pochi: il costo, la complessità dell'impianto e anche il ritardo nella risposta, del tutto inaccettabile su una moto.

Turbo per moto: KTM risponde a Honda con il compressore "ibrido"
La catena che aziona il compressore nel sistema Kawasaki H2

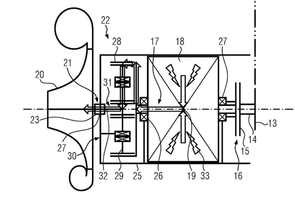
Come funziona la sovralimentazione ibrida di KTM

Abbiamo finora visto il sistema interamente meccanico delle Kawasaki H2, in cui il compressore è azionato da una catena, e il prototipo Honda V3 in cui il compressore è messo in rotazione da un motore elettrico alimentato da una batteria. Il sistema “ibrido” di KTM si collocherebbe a metà strada tra i due: il compressore sarebbe normalmente azionato da una catena collegata all’albero motore, ma con un “aiutino” elettrico.

Il sistema prevede un motore-generatore elettrico, collegato alla girante del compressore da uno stadio epicicloidale, necessario a ottenere la moltiplicazione necessaria. Il compressore è dunque sempre collegato alla macchina elettrica, ma può esserlo anche all’albero motore tramite una frizione controllata elettricamente.

In questo modo è possibile realizzare diverse condizioni di lavoro: ai bassi regimi la frizione è aperta, in modo da non sottrarre potenza al motore per trascinare il compressore, che è azionato solo elettricamente per fornire un boost transitorio; raggiunte le condizioni opportune di funzionamento del motore, la frizione si chiude e il compressore viene trascinato elettricamente, mentre la macchina elettrica smette di spingere (anzi, può essere rovesciata dal punto di vista elettrico in modo da ricaricare la batteria).

Turbo per moto: KTM risponde a Honda con il compressore "ibrido"
Un disegno estratto dal brevetto KTM per il compressore "ibrido"

Niente turbina per trascinare il compressore, ma un motore elettrico e una catena collegata all'albero tramite una frizione a controllo elettronico

Su che modello la vedremo?

È anche possibile far lavorare il compressore per via meccanica, ma con il supporto del motore elettrico: in questo caso si ottiene la massima rapidità nell’aumento della portata d’aria, e quindi le massime prestazioni. A tal proposito, nel brevetto il compressore è di tipo “scroll”, con due spirali sfalsate che realizzano un canale via via più stretto dove l’aria si comprime; questa configurazione è efficace, compatto e silenzioso, perfetto per una moto; ma ovviamente è possibile che vengano adottate altre soluzioni, come il compressore centrifugo usato sulle Kawasaki H2.

Il brevetto mostra la sovralimentazione ibrida applicata a un monocilindrico da enduro, ma i brevetti sono sempre generali (anzi quando possibile fuorvianti), ed è possibile applicarla ad ogni motorizzazione. In linea di principio il massimo beneficio lo si otterrebbe sulle piccole e medie cilindrate, anche se i costi potrebbero spingere a usarlo nell’alto di gamma, almeno inizialmente; vedremo che uso farà KTM di questa tecnologia, ed eventualmente quando.

Turbo per moto: KTM risponde a Honda con il compressore "ibrido"

Il futuro è nella sovralimentazione?

La soluzione “ibrida” non è in sé una novità; la stessa Garrett, il gigante della sovralimentazione che fornisce turbine e compressori a mezzo mondo, ha a catalogo sia un turbocompressore 100% elettrico, quindi in realtà senza turbina (e-compressor), sia un turbocompressore con turbina e assistenza elettrica (e-turbo), nel quale il motore elettrico elimina il turbo-lag, il ritardo dei classici turbocompressori.

La soluzione KTM è ancora diversa, perché elimina comunque la turbina (riducendo complessità e costi) ma mantenendo la doppia possibilità di alimentazione, meccanica ed elettrica, per il compressore. Un sistema quindi interessante, che promette di ottenere una migliore risposta a tutti i regimi ma anche di aiutare gli ingegneri a superare i vincoli omologativi sulle emissioni, e che per quanto complessa non richiede una parte elettrica importante come sul sistema Honda.

Come per i cambi automatici, c’è comunque molto di nuovo sotto il sole, con tanta varietà di soluzioni tecniche che renderà il panorama della sovralimentazione, speriamo, molto interessante nei prossimi anni. Non da ultimo, fa piacere vedere un bel segno di vitalità a Mattighofen, dove negli ultimi anni si sono dati molto da fare sul fronte dell'innovazione: dall'ABS cornering alla connettività e dal cambio automatico alla sovralimentazione.

Turbo per moto: KTM risponde a Honda con il compressore "ibrido"
Turbo per moto: KTM risponde a Honda con il compressore "ibrido"
Turbo per moto: KTM risponde a Honda con il compressore "ibrido"
Turbo per moto: KTM risponde a Honda con il compressore "ibrido"
Turbo per moto: KTM risponde a Honda con il compressore "ibrido"
Turbo per moto: KTM risponde a Honda con il compressore "ibrido"
Turbo per moto: KTM risponde a Honda con il compressore "ibrido"
Turbo per moto: KTM risponde a Honda con il compressore "ibrido"

Per inserire un commento devi essere registrato ed effettuare il login.

ADV
ADV

Correlate

ADV
ADV

Annunci usato