Quotazione Moto & Scooter

Cerca

Seguici con

ADV
Moto & Scooter

La Cina esagera: in arrivo un otto cilindri!

Redazione
dalla Redazione il 25/04/2024 in Moto & Scooter
La Cina esagera: in arrivo un otto cilindri!
Chiudi

Great Wall Motor ha pronto un otto cilindri boxer con configurazione simile al motore della Honda Gold Wing, ma con due cilindri in più. In arrivo presto su due nuove moto

GWM (Great Wall Motor) è un colosso dell'industria automobilistica cinese che ha deciso di ampliare i propri interessi anche alle due ruote. Come fare a far parlare di se in tutto il mondo? Semplice, costruendo un motore esagerato, un otto cilindri in grado di superare anche il big boxer sei cilindri di casa Honda, montato sull’intramontabile Gold Wing.

E per non sbagliare, GWM ha deciso di clonare anche le moto sulle quali montare il suo enorme boxer. Girano in rete da qualche tempo infatti alcune foto rubate in Cina di due modelli equipaggiati con l’otto cilindri boxer, uno somigliante appunto alla Gold Wing, l'altro alla Rune, una cruiser, sempre di casa Honda, diffusa nei primi anni 2000.

Il marchio cinese, che ha imparato bene ad usare i social per far “trapelare” le notizie, ha pubblicato anche un video in cui Wei Jianjun, il presidente miliardario della GWM, è impegnato a presentare la sua nuova auto elettrica Xiaomi S7. Ma sullo sfondo, strategicamente posizionata, e scopertura quel tanto che basta, compare quella che sembra una tourer otto cilindri pronta per la produzione, probabilmente con un marchio creato ad hoc.

TUTTI I RICAMBI ORIGINALI E I DISEGNI TECNICI DEI MIGLIORI MARCHI SU MOTONLINE
La Cina esagera: in arrivo un otto cilindri!

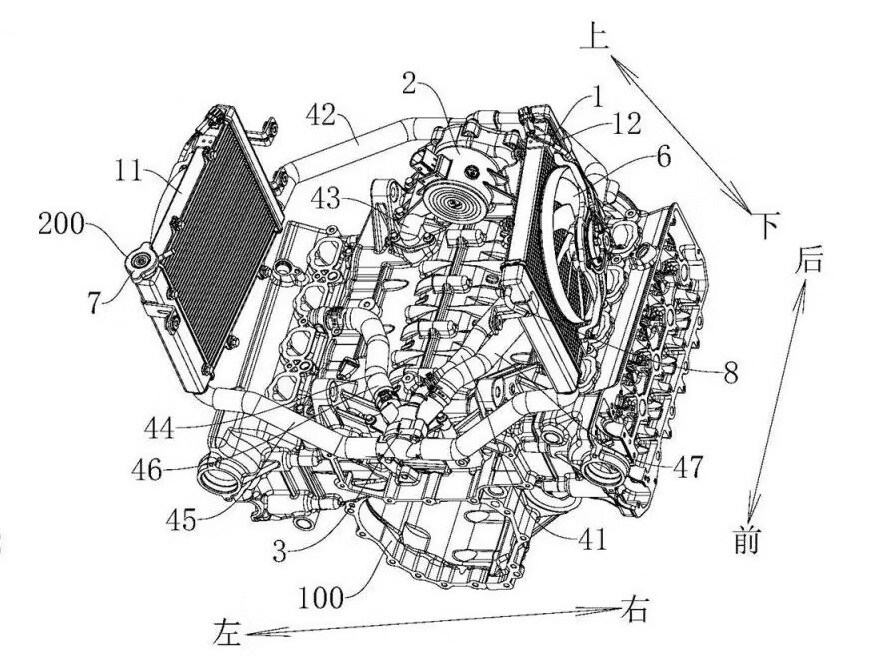
In merito alle due nuove moto GWM ha depositato alcune domande di brevetto, complete dei relativi disegni, nei quali si dove si vede bene l’architettura del motore otto cilindri boxer, ampiamente ispirato a quello Honda della Gold Wing, ma con due cilindri in più. La cilindrata si dovrebbe attestare intorno ai 2.000 cc, e come sulla Honda, dovrebbe utilizzare un cambio semiautomatico a doppia frizione con trasmissione finale ad albero. Una differenza sostanziale dovrebbe essere la distribuzione a doppio albero a camme nella GWM, rispetto a quello a camma singola della Honda, mentre per quanto riguarda il sistema di raffreddamento, la soluzione è simile con i radiatori montati lateralmente sopra le bancate dei cilindri su ciascun lato. Simili anche la forcella, tipo Hossack e il telaio, fuso in alluminio.

Quando vedremo queste GWM otto cilindri su strada? Probabilmente molto presto, visto che foto e video mostrano modelli ormai pronti per la produzione e visto che all’azienda non mancano certo risorse per la ricerca, lo sviluppo e la produzione. Il predidente Wei Jianjun è presente nell’elenco di Forbes come il tredicesimo miliardario più ricco della Cina!

Per inserire un commento devi essere registrato ed effettuare il login.

ADV
ADV

Correlate

ADV
ADV